청도서천밀봉기술유한회사
청도서천밀봉기술유한회사
제품
X

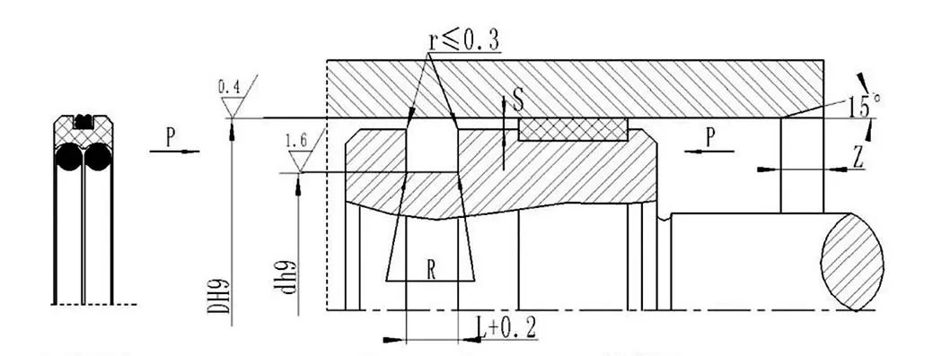
AQF 유형 PTFE 복합 씰

중국 제조업체로서 Ruichen Seals는 개발 및 혁신 능력을 갖추고 있습니다. Ruichen Seals가 출시한 AQF 유형 PTFE 복합 씰은 저마찰 PTFE 씰링 링과 내유성 엘라스토머의 조합을 사용합니다. 컴팩트한 외관과 강력한 적응성을 갖추고 있으며 특히 식품 기계, 의료 장비 및 청정 환경의 유압 시스템에 적합합니다.

AQF 유형 PTFE 복합 씰은 다양한 NBR/FKM 엘라스토머 및 PTFE1-PTFE4 씰링 링 옵션을 제공합니다. 오염 방지 및 부식 방지 기능이 있으며 맞춤화 및 대량 도매를 지원합니다.


적용 가능한 근무 조건

압력 Mpa

온도 ℃

속도 m/s

중간

≤60

-35~+100(NBR)

≤3

유압유, 유제, 물, 가스 등

-20~+200(FKM)


재료 선택

1. 사용 가능한 엘라스토머 재질: R01 니트릴 고무(NBR), RO2 불소 고무(FKM) 등

2. 씰링 링 재질: 표준 재질: PTFE3; 기타 사용 가능한 재료: PTFE1, PTFE2 및 PTFE4.



핫 태그: AQF 유형 PTFE 복합 씰
문의 보내기
연락처 정보
경쟁력있는 가격, 기술 지원 및 빠른 응답을 얻으십시오. 맞춤형 밀봉 솔루션을 위해 사양을 Ruichen에 보내십시오. 무료 샘플을 사용할 수 있습니다.
X
We use cookies to offer you a better browsing experience, analyze site traffic and personalize content. By using this site, you agree to our use of cookies. Privacy Policy
Reject Accept