Qingdao Ruichen Sealing Technology Co., Ltd.
Qingdao Ruichen Sealing Technology Co., Ltd.
소식

회전 샤프트를위한 ​​RC2051-B/G 기어 조합 씰

2025-03-08

이 씰은PTFE 재료그리고 anO- 링 고무 링, 유압 및 공압 왕복 및 회전 운동의 일원 밀봉에 적합합니다. 수명이 높고 마찰이 적고 밀봉, 작은 구조 공간의 특성이 있으며 수압 밀봉에 사용할 수 있습니다. RC2051-B (표준 유형) 및 RC2051-G (고속 유형)로 나뉩니다. RC2051의 특수 립 디자인은 공압 왕복 운동을 위해서도 좋은 밀봉 효과와 매우 낮은 마찰 저항을 가지고 있습니다.로타리 씰.

재료 선택

1. 일치하는 O- 링 재료를 선택할 수 있습니다 : R01 니트릴 고무 (NBR), R02 플루오로 루버 (FKM) 등

2. 밀봉 링 재료 : 표준 재료 PTFE4, 기타 옵션 재료 PTFE1, PTFE2, PTFE3, PTFE5.


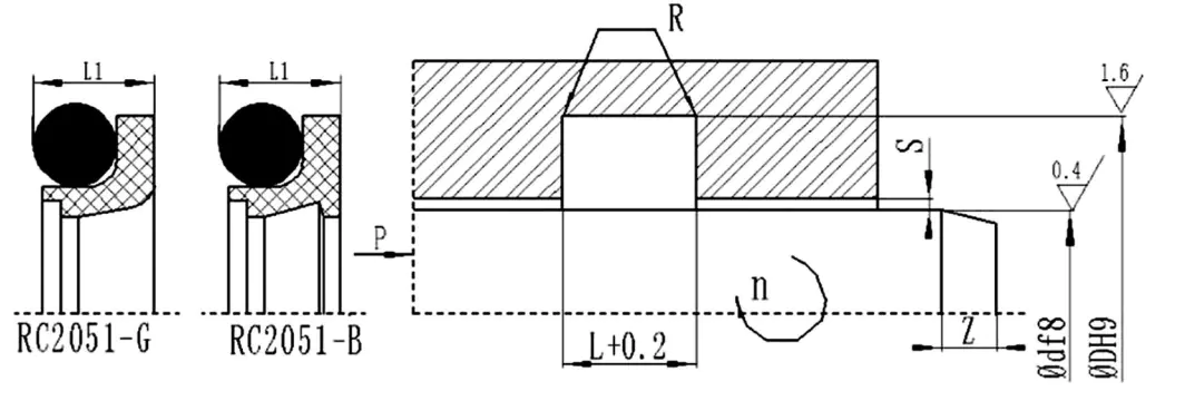
구조 다이어그램



관련 뉴스
X
We use cookies to offer you a better browsing experience, analyze site traffic and personalize content. By using this site, you agree to our use of cookies. Privacy Policy
Reject Accept