청도서천밀봉기술유한회사
청도서천밀봉기술유한회사
제품
X

TC 오일 시일

일반적으로 오일 씰로 알려진 회전 샤프트 립 씰은 베어링 하우징에 설치되어 회전 샤프트를 기준으로 움직입니다. 금속 뼈대는 지지력을 제공하고 스프링은 밀봉 립에 방사형 예압을 적용하여 윤활유 누출과 외부 오염 물질의 침입을 방지합니다.

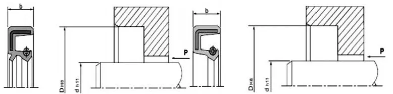
설치 구조 및 요구 사항

1. 샤프트 재질 : 일반적으로 탄소강과 스테인레스 강이 사용됩니다. 고속을 위해 표면에 크롬 도금(HRC40-45)을 적용했습니다.

2. 회전 샤프트 및 홈의 설계: 샤프트 표면은 매끄러워야 하며 버(burr)가 없어야 합니다. 나선형 가공 흔적은 펌핑 효과를 만들어 누출을 일으킬 수 있습니다. 오일 씰 장착 영역은 Ra0.1-0.5μm의 표면 거칠기로 연마되어 속도가 증가함에 따라 더 부드러워지는 것이 좋습니다. 설치 및 분해가 쉽도록 샤프트와 홈은 모따기 또는 둥근 모서리로 설계되어야 합니다(그림 1 및 2 참조).

씰링 높이

b

b1(0.85xb)

mm

b2(b+0.3)

mm

r

최대.

7

5.95

7.3

0.5

8

6.80

8.3

0.5

10

8.50

10.3

0.5

12

10.30

12.3

0.7

15

12.75

15.3

0.7

20

17.00

20.3

0.7

그림 1. 홈 모따기 설계


d

d3

R

<10

d-1.5

2

10~20

d-2.0

2

20~30

d-2.5

3

30~40

d-3.0

3

40~50

d-3.5

4

50~70

d-4.0

4

70~95

d-4.5

5

95~130

d-5.5

6

130~240

d-7.0

8

240~500

d-11.0

12

500~800

d-14.0

14

800~1250

d-18.0

16

그림 2 회전축의 모따기 설계


회전 샤프트 립 씰의 성능에 영향을 미치는 요인 

밀봉 효과에 영향을 미치는 요소는 수십 가지입니다. 재료 및 구조와 같은 오일 씰 자체 외에도 매체, 온도, 압력, 윤활, 속도 및 표면 거칠기와 같은 다른 요소도 씰링 효과에 직접적인 영향을 미치며 이러한 요소는 종종 서로 상호 작용합니다. 다음 차트는 사용자 참조용으로만 제공됩니다.

그림 3. 온도가 오일 시일에 미치는 영향


설치: 오일 씰이 제대로 작동하려면 주의 깊은 설치가 전제조건입니다.

설치도(캐비티 설치)

올바른 설치 방법

적용 가능한 근무 조건

잘못된 설치 방법

이 방법은 오일 시일 단면과 캐비티 단면이 같은 높이인 경우에만 적용 가능합니다. 프레싱 장비가 빠르게 작동하는 경우 오일 씰이 올바르게 배치되어야 합니다. 그렇지 않으면 정렬 불량이 발생할 수 있습니다.

 

이 설계는 오일 시일 단면이 캐비티 단면보다 낮은 상황에 적합합니다. 빠르게 눌러도 오일 씰의 위치는 여전히 양호합니다. 그러나 이러한 유형의 고정 장치에는 반경 방향 위치 지정이 부족하므로 프레싱 장치의 평판과 압력 샤프트의 축 직각도가 특정 정밀도를 달성해야 합니다.

이 방법은 오일 시일 단면이 캐비티 단면보다 낮은 상황에 적합합니다. 장비를 빠르게 누를 때 오일 씰이 올바른 위치에 있는지 확인하는 것이 중요합니다. 그렇지 않으면 정렬 불량이 발생할 수 있습니다.


 

 


이 방법은 압력 장비를 사용할 수 없는 유지 관리 또는 간단한 설치 조건에만 적합합니다. 설치 시 절대적으로 균일한 압착이 불가능하기 때문에 다양한 설치 문제가 불가피합니다. 주로 설치 중 오일 씰이 변형될 수 있는 반경 방향 정렬 불량을 방지하거나 설치 중 정지로 인해 오일 씰 결합부(외부 원)의 고무가 손상되는 것을 방지하기 위해 설계되었습니다. 따라서 이 설치 방법은 일반적으로 권장되지 않습니다.

 

TC/SC/TB/SB 오일 시일

둘 다 금속 프레임, 스프링 및 고무 본체로 구성됩니다. 금속 프레임은 지지력을 제공하고 스프링은 밀봉 립에 방사형 힘을 가합니다. TC 및 TB 모델 모두 방진 보조 립이 있어 한쪽 면에는 밀봉 매체가 있고 다른 면에는 먼지가 있는 응용 분야에 적합합니다. TB/SB 모델에는 금속 외부 원이 있어 캐비티 내에서 오일 씰이 더욱 안전하고 정밀해집니다. 그러나 외부 원의 밀봉 능력은 저점도 및 기체 매체의 경우 제한됩니다. 따라서 설치 및 사용 중에 외부 원에 실런트를 바르는 것이 좋습니다.

단면형상

모델

애플리케이션

압력

온도

속도

중간

재료

TC

씰링, 방진

0.03MPa

-30~+160

20m/s

윤활유 및 그리스

NBR/FKM + 탄소강

SC

씰링

결핵

씰링, 방진

-30~+100

25m/초

물, 윤활유, 그리스

NBR + 탄소강

SB

씰링

주문 모델 TC-d*D*b

사양

사양

사양

사양

사양

사양

사양

TC-6*17*3.5

TC-9*25*7

TC-10*30*7

TC-12*25*10

TC-13*25*7

TC-14*32*8

TC-15*30*7

TC-7*18*7

TC-10*18*7

TC-11*22*7

TC-12*26*7

TC-13*26*7

TC-14*32*10

TC-15*30*8

TC-8*18*7

TC-10*19*7

TC-I1*25*7

TC-12*28*7

TC-13*28*7

TC-14*35*7

TC-15*30*10

TC-8*20*7

TC-10*20*5

TC-11*30*10

TC-12*28*8

TC-13*30*8

TC-14*35*8

TC-15*32*7

TC-8*22*7

TC-10*20*7

TC-12*19*3

TC-12*30*7

TC-14*24*7

TC-14*40*7

TC-15*32*10

TC-8*22*8

TC-10*22*5

TC-12*20*7

TC-12*30*10

TC-14*25*7

TC-15*22*8

TC-15*35*7

TC-8*25*7

TC-10*22*7

TC-12*21*7

TC-12*32*7

TC-14*26*7

TC-15*24*7

TC-15*35*8

TC-8*25*8

TC-10*22*8

TC-12*22*5

TC-12*32*10

TC-14*27*7

TC-15*25*5

TC-15*35*10

TC-8*30*7

TC-10*22*10

TC-12*22.5*5.5

TC-12*35*7

TC-14*28*7

TC-15*25*7

TC-15*38*7

TC-9*16*5

TC-10*24*7

TC-12*22*7

TC-12*35*10

TC-14*28*8

TC-15*25*8

TC-15*38*8

TC-9*18*7

TC-10*25*5

TC-12*22*8

TC-12.7*22.22*5

TC-14*28*10

TC-15*26*7

TC-15*38*10

TC-9*19*7

TC-10*25*7

TC-12*24*6

TC-12.7*25.4*7

TC-14*29*7

TC-15*27*7

TC-15*40*8

TC-9*20*7

TC-10*25*10

TC-12*24*7

TC-12.7*26*8

TC-14*30*7

TC-15*27*8

TC-15*40*10

TC-9*22*7

TC-10*26*7

TC-12*25*7

TC-12.7*30*8

TC-14*30*10

TC-15*28*7

TC-15*42*7

TC-9*24*7

TC-10*28*7

TC-12*25*8

TC-13*23*7

TC-14*32*7

TC-15*28*10

TC-15*42*8

 




핫 태그: TC 오일 시일
문의 보내기
연락처 정보
경쟁력있는 가격, 기술 지원 및 빠른 응답을 얻으십시오. 맞춤형 밀봉 솔루션을 위해 사양을 Ruichen에 보내십시오. 무료 샘플을 사용할 수 있습니다.
X
당사는 귀하에게 더 나은 탐색 경험을 제공하고, 사이트 트래픽을 분석하고, 콘텐츠를 개인화하기 위해 쿠키를 사용합니다. 이 사이트를 이용함으로써 귀하는 당사의 쿠키 사용에 동의하게 됩니다. 개인 정보 보호 정책
거부하다 수용하다