청도서천밀봉기술유한회사
청도서천밀봉기술유한회사
제품
X

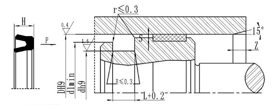
프리미엄 단동형 U-컵 립 씰

Ruichen Seals의 프리미엄 단동 U-컵 립 씰은 고성능 폴리우레탄(PU) 소재와 비대칭 구조 설계를 활용합니다. ISO5597 국제 홈 표준을 준수하여 왕복 유압 응용 분야의 단방향 밀봉을 위해 개발되었습니다. 씰링 성능, 내마모성, 압출 방지 성능이 뛰어나 건설기계, 농기계, 산업용 유압시스템에 적합합니다.

프리미엄 단동 U-컵 립 씰은 피스톤에 사용하도록 설계된 비대칭 씰입니다. 유압 왕복 운동의 일방향 밀봉에 적합하며 우수한 밀봉 성능을 제공합니다. 홈은 ISO5597 표준을 준수합니다.


적용 가능한 작업 조건(한계 값이 동시에 나타나서는 안 됨)

압력 Mpa

온도 ℃

속도 m/s

중간

≤40

-30~+100

≤0.5

유압유, 미네랄, 유제 등


소재 선택: 폴리우레탄(PU)


주문 예

주문 모델 RCUPD63x48x10 실린더 직경 x 홈 직경 x 씰 높이

압출 간격

압력 Mpa

압출 간격 Smax

실린더 직경 D≤60mm

실린더 직경 D>60mm

≤5

0.4

0.5

≤10

0.3

0.5

20 이하

0.2

0.3

≤30

0.15

0.2

≤40

0.1

0.15


핫 태그: 프리미엄 단동형 U-컵 립 씰
문의 보내기
연락처 정보
경쟁력있는 가격, 기술 지원 및 빠른 응답을 얻으십시오. 맞춤형 밀봉 솔루션을 위해 사양을 Ruichen에 보내십시오. 무료 샘플을 사용할 수 있습니다.
X
We use cookies to offer you a better browsing experience, analyze site traffic and personalize content. By using this site, you agree to our use of cookies. Privacy Policy
Reject Accept