|
압력/MPa |
온도 / ℃ |
속도 /m/s |
중간 |
|
≤40 |
-35~+100 (NBR O-링 포함) |
≤2 |
유압유, 유제, 물, 가스 등 |
|
-20~+200 (FKM O-링 포함) |
1. 사용 가능한 O-링 재질: R01 니트릴 부타디엔 고무(NBR), R02 불소 고무(FKM) 등
2. 씰링 링 재질: 표준 재질 PTFE3 및 PTFE4; 기타 옵션 재료로는 PTFE1, PTFE2 및 PTFE5가 있습니다.
주문 예
주문 모델 RC2052—80x91×4.2—PTFE3—R01 모델-dxDxL- 재질 코드
주문 모델 RCX17—80x91×4.2—HPU 모델-dxDxL- 재료 코드
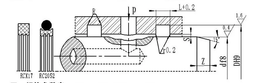
사양 및 매개변수 표(매개변수 범위 내의 모든 사양을 사용할 수 있음)
|
샤프트 직경 범위 df8 |
트렌치 직경 DH9 |
트렌치 폭 L+⁰.2 |
레이디얼 클리어런스 Smax |
둥근 모서리 R최대 |
모따기 지민 |
|
|
0~10Mpa |
10~20Mpa |
|||||
|
6~18 |
d+49 |
2.2 |
0.15 |
0.1 |
0.4 |
2 |
|
19~37 |
d+7.5 |
3.2 |
0.2 |
0.15 |
0.6 |
3 |
|
38~199 |
d+11.0 |
4.2 |
0.25 |
0.2 |
1.0 |
4 |
|
200~255 |
d+15.5 |
6.3 |
0.3 |
0.25 |
1.3 |
5 |
|
256~649 |
d+21.0 |
8.1 |
0.3 |
0.25 |
1.8 |
7 |
|
650~1500 |
d+28.0 |
9.5 |
0.45 |
0.3 |
2.0 |
8 |
참고: 샤프트 직경이 30mm 이하인 경우 개방형 홈을 권장합니다.
|
d |
D |
L |
d |
D |
L |
d |
D |
L |
d |
D |
L |
|
8 |
12.9 |
2.2 |
48 |
59.0 |
4.2 |
150 |
161.0 |
4.2 |
350 |
371.0 |
8.1 |
|
10 |
14.9 |
2.2 |
50 |
61.0 |
4.2 |
160 |
171.0 |
4.2 |
360 |
381.0 |
8.1 |
|
12 |
16.9 |
2.2 |
55 |
66.0 |
4.2 |
170 |
181.0 |
4.2 |
370 |
391.0 |
8.1 |
|
14 |
18.9 |
2.2 |
60 |
71.0 |
4.2 |
180 |
191.0 |
4.2 |
380 |
401.0 |
8.1 |
|
15 |
19.9 |
2.2 |
63 |
74.0 |
4.2 |
190 |
201.0 |
4.2 |
390 |
411.0 |
8.1 |
|
16 |
20.9 |
2.2 |
65 |
76.0 |
4.2 |
200 |
215.5 |
6.3 |
400 |
421.0 |
8.1 |
|
18 |
22.9 |
2.2 |
70 |
81.0 |
4.2 |
210 |
225.5 |
6.3 |
420 |
441.0 |
8.1 |
|
20 |
27.5 |
3.2 |
75 |
86.0 |
4.2 |
220 |
235.5 |
6.3 |
450 |
471.0 |
8.1 |
|
22 |
29.5 |
3.2 |
80 |
91.0 |
4.2 |
230 |
245.5 |
6.3 |
480 |
501.0 |
8.1 |
|
24 |
31.5 |
3.2 |
85 |
96.0 |
4.2 |
240 |
255.5 |
6.3 |
500 |
521.0 |
8.1 |
|
25 |
32.5 |
3.2 |
90 |
101.0 |
4.2 |
250 |
265.5 |
6.3 |
520 |
541.0 |
8.1 |
|
28 |
35.5 |
3.2 |
95 |
106.0 |
4.2 |
260 |
281.0 |
8.1 |
550 |
571.0 |
8.1 |
|
30 |
37.5 |
3.2 |
100 |
111.0 |
4.2 |
270 |
291.0 |
8.1 |
600 |
621.0 |
8.1 |
|
32 |
39.5 |
3.2 |
105 |
116.0 |
4.2 |
280 |
301.0 |
8.1 |
630 |
651.0 |
8.1 |
|
35 |
42.5 |
3.2 |
110 |
121.0 |
4.2 |
290 |
311.0 |
8.1 |
650 |
678.0 |
8.1 |
|
36 |
43.5 |
3.2 |
115 |
126.0 |
4.2 |
300 |
321.0 |
8.1 |
670 |
698.0 |
9.5 |
|
38 |
49.0 |
4.2 |
120 |
131.0 |
4.2 |
310 |
331.0 |
8.1 |
700 |
728.0 |
9.5 |
|
40 |
51.0 |
4.2 |
125 |
136.0 |
4.2 |
320 |
341.0 |
8.1 |
750 |
778.0 |
9.5 |
|
42 |
53.0 |
4.2 |
130 |
141.0 |
4.2 |
330 |
351.0 |
8.1 |
800 |
828.0 |
9.5 |
|
45 |
56.0 |
4.2 |
140 |
151.0 |
4.2 |
340 |
361.0 |
8.1 |
1000 |
1028.0 |
9.5 |
참고: 필수 사양은 여기에 나열되어 있지 않습니다. 저희 회사에 문의해 주세요. 우리는 최대 직경 2800mm의 제품을 제공합니다.





전반적인 설치 및 사용 지침
Rui Chen은 올바른 설치가 씰의 전체 성능을 보장하기 위한 첫 번째 전제 조건임을 알고 있습니다. 또한 각 제품, 특히 복잡하거나 비표준 맞춤형 부품의 사용에 대한 포괄적인 지침을 제공할 것이며 자세한 그래픽 설치 가이드도 제공될 것입니다.
이 가이드에는 마치 당사 엔지니어가 현장에 있는 것처럼 설치 전 검사 사항, 올바른 설치 단계, 필요한 도구 및 피해야 할 잘못된 작업을 명확하게 보여주는 고화질 단계별 다이어그램과 텍스트 지침이 함께 제공됩니다. 또한 복잡한 어셈블리 또는 시스템의 경우 운영자가 동적 데모를 통해 설치 기술과 예방 조치를 직관적이고 신속하게 익힐 수 있도록 전문적인 비디오 튜토리얼을 제작하여 부적절한 설치로 인한 조기 실패 위험을 크게 줄입니다.
주소
중국 산둥성 칭다오시 청양구 동류팅 산업단지 루이첸로 1호