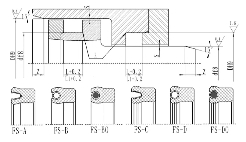
우리의 FS 범용 스프링 에너지 씰은 대칭 구조와 범용 샤프트 홀을 갖는 샤프트 구멍에 대한 고성능 범용 스프링 에너지 씰이며, 이는 다양한 산업 시나리오에 적합합니다. 이 일련의 제품은 유형, B 유형, Bo 유형, C 유형, D 유형 및 DO 유형으로 나뉩니다. 그중에서도 BO 타입 및 DO 타입은 미디어 저항성이 우수한 고기능 플라스틱 및 코팅 된 O- 링 조합을 채택합니다. C 유형, D 유형 및 DO 타입은 이빨 입술 구조를 채택하여 밀봉 능력을 더욱 향상시킵니다. 특히 40mpa를 초과하는 압력을 갖는 고압 작업 조건에 적합합니다.
FS 범용 스프링 에너지 씰은 다양한 밀봉 링 재료 (예 : PTFE, UPE, PK 등) 및 스테인리스 스틸 스프링 (O 형 또는 V 자형 옵션)을 지원하며 다양한 미디어 및 작업 조건에서 우수한 성능을 수행 할 수 있습니다. 샤프트 홀의 범용 설계는 선택 및 설치 프로세스를 단순화하며 화학, 석유, 에너지 등의 필드에서 고압 유압 시스템, 공압 장비 및 특수 미디어 밀봉에 널리 사용됩니다.
제품 기능 및 응용 프로그램 :
적용 가능한 작업 조건 (제한 값이 동시에 나타나지 않아야 함)
| 압력 MPA | 속도 m/s | 온도 ℃ | 중간 | |
| <40, 적용 가능한 그루브 너비 l > 40MPA, 그루브 너비 L1을 적용하십시오 | <10 | 왜냐하면/to -35 ~+250 | 다른 -200 ~+250 | 모든 액체, 화학 물질, 가스 |
재료 선택
1. Bo, 엘라스토머 : 코팅 된 O- 링.
2. 밀봉 링 재료 : PTFE1, PTFE2, PTFE3, PTFE4, UPE, PK1, PK2 등
3. 스테인리스 스틸 스프링은 O 자형 스프링과 V 자형 스프링을 선택할 수 있습니다.
주문 예
FS-A-40*46*4.7-PTFE4 D*D*L A 형 팬 씰, 밀봉 링 재료는 PTFE4,
FS-BO-40*46*4.7-PTFE4, D*D*L BO-TYPE PAN SEAL, 밀봉 링 재료는 O- 링 코팅이있는 PTFE4입니다.
사양 (매개 변수 범위 내의 모든 크기를 사용할 수 있습니다)
| d | D | L+0.2 | L1+0.2(압력에 적용 가능> 40mpa) | 방사형 클리어런스 Smax | 모따기 길이 Zmin | rmax | |
| <20mpa | <40mpa | ||||||
| 3 ~ 10 | D+3 | 2.5 | 3.9 | 0.08 | 0.05 | L | 0.4 |
| 10 ~ 22 | D+4 | 3.2 | 4.4 | 0.10 | 0.07 | 0.4 | |
| 22 ~ 50 | D+6 | 4.7 | 6.0 | 0.15 | 0.08 | 0.6 | |
| 48 ~ 150 | D+10 | 7.5 | 9.0 | 0.20 | 0.10 | 0.8 | |
| 150 ~ 400 | D+15 | 11 | 13 | 0.25 | 0.12 | 0.8 | |
참고 : 필요한 사양은이 표에 나열되어 있지 않습니다. 저희에게 연락하십시오.
최대 1600mm의 제품을 공급할 수 있습니다.



































주소
중국 산둥성 칭다오시 청양구 동류팅 산업단지 루이첸로 1호