유압 먼지 씰은 Ruichen 씰이 생산할 수있는 밀봉 제품 중 하나입니다. 이 유형의 제품에서 다양한 모델에 대해 배울 수 있으며 구조적 조합을 만들 수도 있습니다. 필요한 경우 도움이나 맞춤형 솔루션을 위해 당사에 문의하거나 샘플 책을 얻으려면 당사에 문의하십시오.
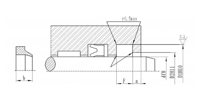
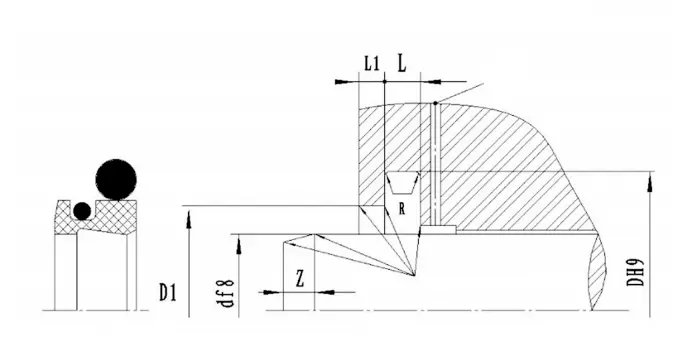
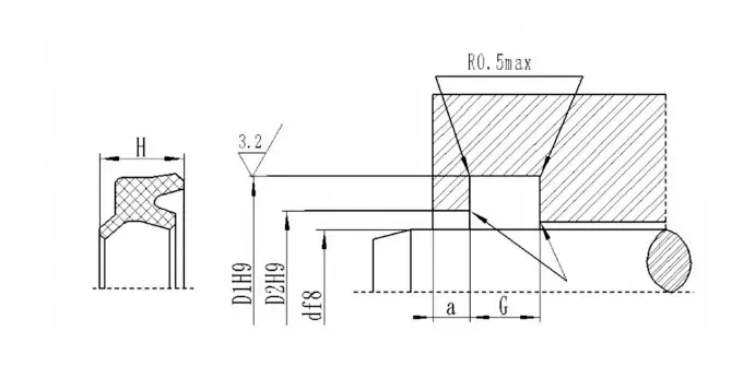
RCF01 및 RCF02는 방지 PTFE 재료로 채워진 이중 립 먼지 씰 링 및 O 자형 고무 고리로 구성된 양방향 먼지 씰입니다. O- 링은 PTFE 링의 마모를 보상하기 위해 예압 힘을 제공합니다. RCF01은 먼지가 많거나 차가운 환경 및 고주파 왕비 운동 동작과 같은 무거운 행사에 적합합니다. 분할 그루브는 30mm 미만의 샤프트 직경에 사용해야합니다. RCF02는 왕복 운동, 스윙 또는 나선 운동 조건에 적합합니다.
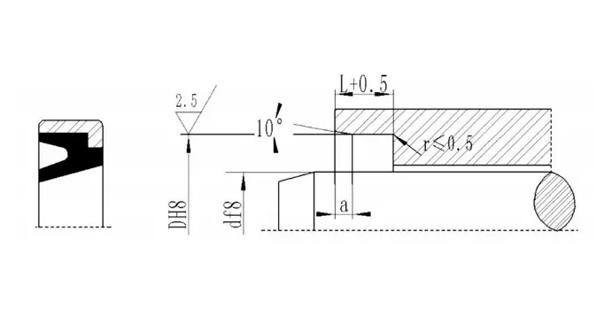
RCF03은 PTFE 재료로 채워진 단일 립 먼지 스크레이퍼 링과 O 자형 고무 고리로 구성된 단방향 먼지 링입니다. 그 기능은 먼지를 긁어 내고 시스템이 오염되는 것을 방지하는 것입니다. 왕복 운동, 스윙 또는 나선 운동 조건에 적합합니다.
RCF04 및 RCF05는 밀봉 립 및 먼지 방향 립이있는 특수 모양의 링으로 구성된 이중 립 먼지 링이며, 전반적인 밀봉을 개선하는 데 사용되는 2 개의 O- 링입니다. 그것은 장수, 마찰이 적고 점도가 없으며 신뢰도가 높습니다. RCF04는 주로 농업 기계, 유압 프레스, 사출 성형기, 유압 제어 시스템, 지게차, 롤링 머신, 크레인 및 하중 및 언로드 기계에 사용됩니다. RCF05는 주로 유압 프레스, 사출 성형 기계, 롤링 머신, 야금 기계 등에 사용됩니다. 특히 대규모 피스톤로드의 방진 씰에 특히 적합합니다.
DHS Dust Ring은 이중 기능 먼지 링으로, 먼지 방진 효과와 특정 밀봉 오일 필름 기능이 모두 있습니다. 재료는 고성능 폴리 우레탄, 니트릴 고무 및 플루오로 루버입니다.
J 자형 및 JA 자형은 유압 실린더 피스톤로드 또는 밸브 스템을 왕복하는 데 사용됩니다. 재료는 폴리 우레탄 (TPU/CPU)과 고무입니다. 그루브 및 제품 차원 및 공차는 JB/T6657-93 및 JB/T6656-93을 준수합니다.
먼지 링 GSM은 외부 오염 물질이 유압 시스템과 밀봉 시스템에 혼합되는 것을 방지하는 데 사용되며, 유압 오일을 외부로 누출하지 않고 윤활 시스템으로 되돌릴 수 있으며, 이는 보조 밀봉의 영향을 미칩니다. 재료는 니트릴 고무, 플루오로 루버 및 폴리 우레탄입니다.
GP1 및 GP6 먼지 링은 오염 물질이 유압 시스템과 밀봉 시스템에 혼합되는 것을 방지하는 데 사용됩니다. 재료는 니트릴 고무 NBR이며, 플루오로 루버 FKM은 고온에서 선택됩니다. GP6은 주로 큰 직경 피스톤로드의 방진 밀봉에 사용됩니다.
AF 타입 먼지 링은 먼지, 먼지, 모래 및 금속 칩이 유압 실린더에 들어가는 것을 방지하는 데 사용됩니다. 슬라이딩 요소에 내장 된 외부 오염 물질로 인한 흠집의 위험을 줄입니다. 먼지 방진 링 립의 특수 설계를 통해 우수한 방진 효과를 얻을 수 있습니다. 링은 강한 내마모성, 작은 영구 변형 및 외부 기계적 영향에 대한 저항의 특성을 갖습니다. 방진 링은 밀봉 홈의 외경과 금속 사이의 간섭 맞춤을 사용하여 축 방향 개방 홈의 적절한 위치에 단단히 설치할 수 있습니다. 착용감은 플러시되므로 입술은 외부 이유로 인한 손상에 대해 매우 보호 적입니다. 엔지니어링 관점에서 볼 때 AF 유형 먼지 방진 링은 적합한 실린더 헤드 밀봉 장치입니다.
제품 기능 및 응용 프로그램 :
주문 예 :
주문 모델 RCF01-80-PTFE3-R01
RCF01- 모델 80- 샤프트 직경 PTFE3-General Modified PTFE R01 일치 고무 재료 코드
니트릴 고무 (NBR) -R01 플루오로 루버 (FKM) -R02
주문 모델 RCF02-80-PTFE3 —R01
RCF02- 모델 80- 샤프트 직경 PTFE3- 우주 수정 된 PTFE R01 일치 고무 재료 코드
니트릴 고무 (NBR) -R01 플루오로 루버 (FKM) -R02
주문 모델 RCF03-80-PTFE3 —R01
RCF03- 모델 80- 샤프트 직경 PTFE3- 우주 수정 된 PTFE R01 일치 고무 재료 코드
니트릴 고무 (NBR) -R01 플루오로 루버 (FKM) -R02
주문 모델 RCF04-80-PTFE3-R01
RCF04- 모델 80- 샤프트 직경 PTFE3- 우주 수정 된 PTFE R01 일치 고무 재료 코드
니트릴 고무 (NBR) -R01 플루오로 루버 (FKM) -R02
주문 모델 RCF05-80-PTFE3-R01
RCF05- 모드 80- 샤프트 직경 PTFE3-General Modified PTFE RO1 매칭 고무 재료 코드
니트릴 고무 (NBR) -R01 플루오로 루버 (FKM) -R02
주문 모델 : DHS-130*143*8/9.5-R01 D*D1*g/h
J 형 먼지 씰
JA 타입 먼지 씰
GSM
Dust Seal GSM에는 주문 번호가 표시됩니다. 예 : GSM4048 40- 샤프트 직경 D 48 그루브 하단 직경 D
GP1
표시 예 : GP1-70*82*4/8 Model-D*D*L/H
GP6
마킹 방법 : GP6-70*80.6*5.3/7 Model-D*D*L/H
의
DKB
명세서
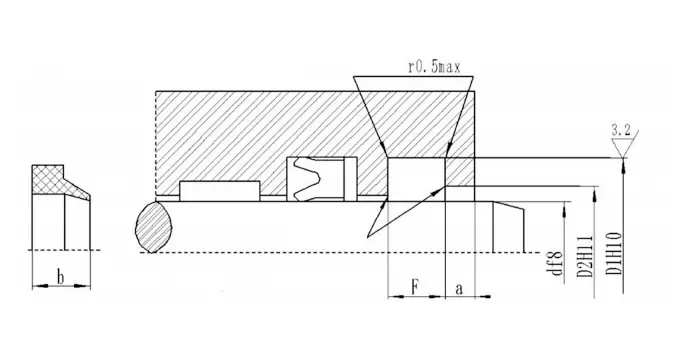
RCF01| 샤프트 직경 범위 D F8 |
그루브 직경 D H9 |
그루브 너비 L+0.2 |
열린 구멍 직경 디1h11 | 열린 구멍 너비 A 더 |
둥근 모서리 R≤ |
O- 링 와이어 직경 디O |
| 19 ~ 39 | D+7.6 | 4.2 | D+1.5 | 3 | 0.8 | 2.65 |
| 40 ~ 69 | D+8.8 | 6.3 | D+1.5 | 3 | 0.8 | 2.65 |
| 70 ~ 139 | D+12.2 | 8.1 | D+2.0 | 4 | 0.8 | 3.55 |
| 140 ~ 399 | D+16.0 | 9.5 | D+2.5 | 5 | 1.5 | 5.30 |
| 400 ~ 649 | D+24.0 | 14.0 | D+2.5 | 8 | 1.5 | 7.00 |
| 650 ~ 1500 | D+27.3 | 16.0 | D+2.5 | 10 | 2.0 | 8.60 |
| 샤프트 직경 범위 D F8 |
그루브 직경 D H9 |
그루브 너비 L+0.2 |
열린 구멍 직경 디1h11 | 열린 구멍 너비 A 더 |
둥근 모서리 R≤ |
O- 링 와이어 직경 디O |
| 4 ~ 11 | D+4.8 | 3.7 | D+1.5 | 2 | 0.4 | 1.80 |
| 12 ~ 64 | D+6.8 | 5.0 | D+1.5 | 2 | 0.7 | 2.65 |
| 65 ~ 250 | D+8.8 | 6.0 | D+1.5 | 3 | 1.0 | 3.55 |
| 251 ~ 420 | D+12.2 | 8.4 | D+2.0 | 4 | 1.5 | 5.30 |
| 421 ~ 650 | D+16.0 | 11.0 | D+2.0 | 4 | 1.5 | 7.00 |
| 651 ~ 1500 | D+20.0 | 14.0 | D+2.5 | 5 | 2.0 | 8.60 |
| 샤프트 직경 범위 D F8 |
그루브 직경 DH9 |
계단 직경 D1 H11 |
그루브 너비 L+0.2 |
전체 너비 L1 |
둥근 모서리 rmax |
모따기 길이 Zmin |
| 20 ~ 39.9 | D+7.6 | d+1 | 4.2 | 8.2 | 0.4 | 3 |
| 40 ~ 69.9 | D+8.8 | D+1.5 | 6.3 | 10.3 | 1.2 | 4 |
| 70 ~ 139.9 | D+12.2 | D+2.0 | 8.1 | 12.1 | 2 | 6 |
| 140 ~ 399.9 | D+16.0 | D+2.0 | 11.5 | 15.5 | 2 | 8 |
| 400 ~ 649.9 | D+24.0 | D+2.5 | 15.5 | 19.5 | 2 | 10 |
| 650 ~ 1000 | D+27.3 | D+2.5 | 18.0 | 23.0 | 2 | 12 |
| 샤프트 직경 범위 D F8 |
그루브 직경 DH9 |
계단 직경 D1 H11 |
그루브 너비 L+0.2 |
측면 너비 L1 |
둥근 모서리 rmax |
모따기 길이 Zmin |
| 100 ~ 229 | D+22.2 | D+10.7 | 6.3 | 4.2 | 1.2 | 6 |
| 230 ~ 299 | D+24.2 | D+10.7 | 6.3 | 4.2 | 1.2 | 8 |
| 300 ~ 629 | D+33.0 | D+15.1 | 8.1 | 6.3 | 1.2 | 10 |
| 630 ~ 1000 | D+36.5 | D+15.1 | 9.5 | 6.3 | 2 | 12 |
| 제품 번호 | d | D1 | H | G+0.3 | D2 | a |
| DHS 12 | 12 | 20 | 6 | 5 | 16.3 | 2 |
| DHS 14 | 14 | 22 | 6 | 5 | 18.3 | 2 |
| DHS 16 | 16 | 24 | 6 | 5 | 20.3 | 2 |
| DHS 18 | 18 | 26 | 6 | 5 | 22.3 | 2 |
| DHS 20 | 20 | 28 | 6 | 5 | 24.3 | 2 |
| DHS 22 | 22 | 30 | 6 | 5 | 26.3 | 2 |
| DHS 25 | 25 | 33 | 6 | 5 | 29.3 | 2 |
| DHS 28 | 28 | 36 | 6 | 5 | 32.3 | 2 |
| DHS 30 | 30 | 38 | 6.5 | 6 | 34 | 2 |
| DHS 32 | 32 | 40 | 6.5 | 6 | 36 | 2 |
| DHS 35 | 35 | 43 | 6.5 | 6 | 39 | 2 |
| DHS 38 | 38 | 46 | 6.5 | 6 | 42 | 2 |
| DHS 40 | 40 | 48 | 6.5 | 6 | 44 | 2 |
| DHS 45 | 45 | 53 | 6.5 | 6 | 49 | 2 |
| DHS 48 | 48 | 56 | 6.5 | 6 | 52 | 2 |
| DHS 50 | 50 | 58 | 6.5 | 6 | 54 | 2 |
| DHS 55 | 55 | 63 | 6.5 | 6 | 59 | 2 |
| DHS 56 | 56 | 64 | 6.5 | 6 | 60 | 2 |



























































주소
중국 산둥성 칭다오시 청양구 동류팅 산업단지 루이첸로 1호